

| 热交换计算式
冬天:室内供气温度=(室内温度-室外温度) ×热交换效率+室外温度计算例:(18℃-0℃)×75%+0℃=13.5℃ |
热交换计算式
冬天:室内供气温度=室外温度-(室外温度-室内温度) ×热交换效率计算例:32℃-(32℃-24℃)×75%=26℃ |

|
KHQ-200D |
KHQ-300D |
KHQ-500D | |
|
额定风量(m3/h) |
200 |
300 |
500 |
|
出口静压(Pa) |
25 |
75 |
75 |
|
热交换率(%) |
70 |
70 |
70 |
|
噪 声dB(A) |
42 |
44 |
48 |
|
装机功率(KW) |
2×0.04 |
2×0.06 |
2×0.1 |
|
额定电压(V) |
220 |
220 |
220 |
|
重量(Kg) |
30 |
45 |
65 |
|
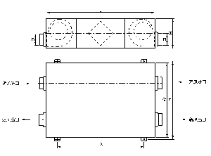
|
L |
W |
H |
A |
B |
出风口尺寸D |
回风口尺寸D |
|
KHQ-200D |
650 |
520 |
250 |
530 |
550 |
150 |
150 |
|
KHQ-300D |
890 |
650 |
250 |
730 |
730 |
150 |
150 |
|
KHQ-500D |
1000 |
820 |
250 |
840 |
840 |
150 |
150 |